Sensore di livello a braccio flangia a 6 fori
Sensori di livello carburante a braccio regolabili flangia a 6 fori
	■ Valori resistivi   VDO       : 10-180 Ω    Cod.  40014/V6
	■ Valori resistivi   VEGLIA : 300-10 Ω    Cod.   40014/6
	■ Valori resistivi   AMERICANI : 240-30 Ω    Cod.   40014/A6
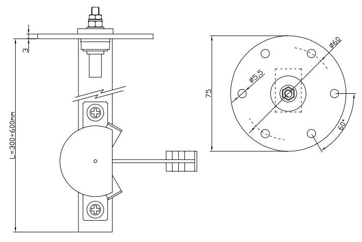
	Il sensore di livello a braccio, grazie al suo sistema di funzionamento ed alla lunghezza regolabile, può essere installato su ogni tipo di serbatoio dotato di attacco con flangia Ø 75 mm da 6 fori e profondità compresa tra 300 a 600 mm . Utilizzabile per gasolio, olio o benzina. Contatto di allarme basso livello opzionale posizionato a circa il 10%.
	■ Regolabili da 300 a 600 mm
	■ Tensione di funzionamento: da 12V a 24V
	■ Temperatura di funzionamento: -25°C a +65°C
	■ Fissaggio a flangia: 6 fori Ø 60mm
	■ Diametro flangia: Ø 75 mm



