SIDE-POWER® by Sleipner Motor - SE60/185S-12V Elica di manovra a Tunnel
SE60/185S Elica di manovra a Tunnel 12V 60kg.di spinta |
| Item code: SE60/185S-12V EAN: 7070969002158 |
|
Thrust at 10.5V* (kg) 60 Thrust at 12V* (kg) 73 Typical boat size (ft • m) 29’ - 38’ • 9 - 12 Tunnel inner diameter(mm) 185 PropulsionSingle Power at 10.5V* (kW • Hp) 3.1 • 4 For DC system (V) 12 Weight (kg) 16 Min. battery capacity (CCA**) 350 Control systemAnalog |
| Scarica documento |
SIDE-POWER® by Sleipner Motor - Esploso, part list SE60/140S. pdf (2.26 MB)
|
ESPLOSI |
| Scarica documento |
SIDE-POWER® by Sleipner Motor - Manuale SE30/125S - SE40/125S - SE60/185S. pdf (2.26 MB)
|
ESPLOSI |
#1 - Motore elettrico Completo Art.: 4 0101 12
Electric motor Item code: 4 0101 12
#2 - Staffa Codice articolo: 4 0502
Bracket Item code: 4 0502
#3 - Giunto flessibile Codice articolo: SM-137073
Flexible coupling Item code: SM-137073
#4 - Gearleg Codice articolo: 4 0602
Gearleg Item code: 40602
|
||
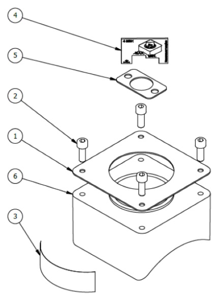
#1 Guarnizione art.: 6 1061
#2 4 Viti 4 DIN 912 - M8 x 22 (A2)
#3 Etichetta art.: 4 8570
#4 Dima di misura art.: 4 8561
#5 Piastra di supporto per staffa motore art.: 4 1242
#6 Staffa
|
||
Motore elettrico Completo Art.: 4 0101 12
#1 - Motore elettrico
#2 - Kit coperchio solenoide art.: SM168211
#3 - Solo Solenoide art.: 41472123
#3a Staffa solenoide art.:4 0135
#3b Kit solenoide completo art.: 4 0131 12
#4 - Centralina di controllo senza cavi 6 1232 I
#4a Cavi Centralina art.: 6 1200 B
*5 - Spazzole per motore (kit)
*6 - Molla spazzole per motore (kit)
*7 - Sensore temperatura
|
||
#1 DIN 916 - M4 x 12 Quantity: 2 Threaded pin
#2 Solenoide art.: 41472123
#3 Uninsulated cable lug ( B 1457 H 8 )
#4 Solenoid bracket kit Item code: 4 0135
|
||
![]()
#1 Relè Ritardatore Delay relay Art: 6 1232 I
#2 Wireing Item code: 6 1226 B
|
||
SM-137073 Giunto elastico Completo / Compl. Flexible coupling SE50/60S2
#1 - Spina guida art.:141285 - ISO 8734 - 4 x 32 - A
Drive pin 141285 - ISO 8734 - 4 x 32 - A
#2 - Giunto elastico / Flexible coupling 140992
|
||
1# - Elica art.: 4 1261
2# - Piede/Trasmissione art.: 4 0602-U
|
||
#1 - art.:411005 - Gearhus SE60
#2 - Rondella elica art.: 7 1181
#9 - art.:6 1241 - Perno guida
#3 - Bullone art.:6 1080 - DIN 609 - M8 x 55 - 13
#18 - Guarnizione art.: 6 1311 15
#21 - Guarnizione art.: 6 1311 10
#22 - Bullone art.4 1260 - DIN 985 - M12x1,75
#24 - Kit anodo art.: 7 1190 A
|
||
|
|
||
Prodotti simili
- 1 di 17
- seguente ›




#1 Guarnizione art.: 6 1061
Motore elettrico Completo Art.: 4 0101 12

1# - Elica art.: 4 1261
#1 - art.:411005 - Gearhus SE60